产品简介
WL系列立式排污泵接纳大通道叶轮,,具有无梗塞、、抗纠葛、、高效节能的特点,,并举行型谱化设计,,接纳全新结构,,借鉴潜污泵的乐成履历,,轴密封接纳机械密封,,无走漏!!1糜氲缁仓,,结构紧凑,,便于维修!!U攵粤髁坑胙锍碳涞墓叵,,优化了进、、出水口径、、转速等参数,,运行更稳固、、可靠!!
型号说明

主要用途及使用条件
WL系列立式排污泵主要用于市政工程、、工农业、、医院、、修建、、宾馆、、饭馆等行业,,用于运送带有固体及种种长纤维的废水、、都会生涯污水和雨水、、还包括原水的运送、、水产养殖、、浇灌等!!#ㄅ湟蕴厥獠闹,,可用于有一定侵蚀性的介质场合!!#
使用条件
1、、 运送介质温度不凌驾+40℃;;;
2、、 运送介质PH值为4-10;;;
3、、 运送介质中的固相物的容积比在2%以下;;;
4、、 电压380V、、50Hz(其它电压可按条约制造);;;
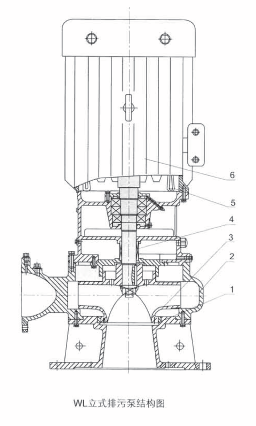
结构说明
WL系列排污泵为立式结构,,泵与电机共轴,,单级单吸蜗壳式排污泵!!8孟盗斜米爸眉蚱,,维修利便!!1玫淖虼拥缁丝次呈闭肫蛐!!
 | 1、、 耐磨环 泵壳和叶轮之间装有易于替换的耐磨环以;;;ひ堵!! 2、、 泵壳为单蜗壳型,,漫衍于叶轮周围网络液体!!9魍饷财交,,通道断面大,,效率高,,无梗塞!!3隹诜ɡ忌媳赣凶爸醚沽Ρ淼墓苈菸瓶,,用户可在此装置压力表,,以监视泵运行时的出水压力!! 3、、 叶轮 叶片式或流道式大通道叶轮,,具有较强的抗纠葛和无梗塞性能,,经由动平衡试验,,运行平稳!!Q锍探细叩谋,,由叶轮后密封环等组成水力平衡机构,,平衡轴向力,,延伸轴承、、机械密封使用寿命!! 4、、 轴密封 接纳机械密封,,包管了泵在运行时无走漏!! 5、、 监测装置 电机内装有温度探测元件,,并输出信号!!S没粲行枨,,可将此信号引入控制柜,,对泵的运行情形举行监控、、;;;!! 6、、 电机 接纳节能型三相异步电机!!P阅芸煽!!5缁氡霉仓,,结构紧凑,,运行平稳,,阻止了因对中问题引起的振动、、噪声!! |
WL系列立式排污泵供货规模
1、、 立式排污泵由带加长轴的电机与水泵连系成为一整体,,为必供件!!F溆辔」杭、、易损件,,须用户订条约时注明!!
2、、 选购件有:::控制柜、、拦污栅(其形状尺寸及装置尺寸由用户确定)、、蝶(闸)阀、、止回阀、、阻止阀液位开关、、可挠性橡胶接受、、地脚螺栓(一套)!!
3、、 易损件有:::叶轮、、密封环、、轴承、、机械密封!!
订货须知
1、、 在条约中应注明准确的产品型号和产品名称、、装置形式、、性能参数(流量、、扬程、、电机功率)和使用电压!!
2、、 控制柜应注明启动方式(直接启动、、自耦降压启动、、可控硅软启动)、、液位控制方式(浮球液位、、压力变送器数显液位)、、装置形式(户外型、、户内型)!!
3、、 如需配端子箱,,应注明是控制型,,照旧接线型!!
4、、 在“供货规模”中需由用户确定的尺寸应实时提供!!
5、、 若有其它特殊要求,,签署条约前请与本公司销售部分联系!!